近日,武汉名校女博士张某迟到误机,掌掴机场女员工的视频在网络上广泛流传,当事人遭法航永久拒载,被依法处以10日行政拘留,还可能进入中国民航黑名单。
6月1日上午9点35分,张某欲乘坐的航班停止登机,9点49分她到达值机柜台,办理乘机手续,称要参加重要会议,并反问“我迟到5分钟怎么了”,10点26分,监控显示张某连续掌掴机场女员工。
6月3日,@新京报 等媒体报道,办案民警透露,当事人张某很快认识到了自己打人不对,她担心学校知道后对其事业产生影响,只是希望能否少关几天。

注:图片来自网络
通过清博舆情监测系统(免费、每两周迭代的舆情系统、近20000用户的选择,)监测“打人女博士”,数据获取时间段为6月3日15时30分至16时30分,情感属性图显示网民负面情感爆棚,占比达到74.76%,网民对女博士的掌掴行为表示强烈不满,不仅是行为本身的不当,更因为打人行为与当事人博士身份的巨大反差。

注:来自清博舆情系统
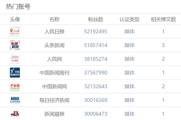
微博热门账号显示,此事影响甚广,@人民日报、@中国新闻周刊、@中国新闻网 均参与报道,@头条新闻 接连发布3条微博。

注:来自清博舆情系统
预警趋势图显示,6月3日零点开始,舆情负面指数基本维持在800以上,没有下滑趋势,网民负面情绪仍旧高昂。

注:来自清博舆情系统
网民负面情绪如此之高,并不仅仅是因为打人这一过分举动。
第一,张某因迟到错过登机时间,作为成年人,理应自行承担后果,不仅没有自我检讨,寻求可行的解决方案,反而将规则视若无物,反问“迟到五分钟怎么了”,并迁怒于工作人员,冲进值机柜台暴力掌掴。
第二,网民认为张某所谓的“知错了”,不过是意识到此事可能对其学校事业产生负面影响,而不是真正地认识到打人的不对,再次验证了其自私自利的本质。
第三,网民吐槽张某在被捕照中插袋摆pose,完全没有知错的意思,甚至是对法律的轻蔑,网民@轩辕浅蓝 揶揄,“拍照还摆了个pose!要不要给你美颜一下啊?”
第四,在公众印象中,博士身份一定程度上象征着教养和素质,与张某目中无人、行为粗鄙的形象形成巨大反差,进一步刺激了网民的负面情绪。
事实上,网民声讨的对象远不止张某一个人。
博士被讽刺为“高分低能”,女性被揶揄为“灭绝师太”,武汉人遭“九头鸟”暗讽,法航也被吐槽服务态度不佳,还有少数网民建议实行医闹黑名单制,转而谴责医闹。
其中也不乏刻板印象和地域黑,引发部分网民反驳,如网民@WF西皮 指出,“博士就博士,不要刻意突出女博士,而且她只是一个素质低的人,跟是不是博士没关系啊”。
从媒体报道中看,“女博士”身份的确存在刻意突出之嫌,多家媒体报道均以武汉名校女博士指代当事人张某,高学历身份引发网民集中讨论“学历不等于素质”。
 
                   
                
                   
                   
                
                   
                
         
     
		 
					 
	 
     
     
 
            
 
			



 
                  
                  
                  
                  
                  
                  
                     