近期,疑似婚闹伴娘遭袭胸视频掀起轩然大波,媒体报道13日广东一伴娘疑因伴郎团推搡坠亡再次推高婚闹话题热度,网民讨论持久不息,婚闹恶俗之下,伴娘已被评为“高危职业”。
6月13日,广东顺德均安一位伴娘在接亲过程中从4楼坠亡,现场图片显示4楼部分栏杆已经缺失。网络流传微信截图显示有街坊怀疑死者并非是自己失足跌下,疑因伴郎团推搡所致。虽然事故原因仍在调查中,但多数媒体以“广东22岁伴娘坠楼身亡,疑因伴郎团推搡所致”为题争相报道。

注:图片来自网络
6月14日,@林哥看天下 上传3分24秒婚闹视频,称“这已经是涉嫌猥亵妇女罪了,应当立案侦查!”获得微博大V和网民的高度关注,转评数超过1万。有网民指出此为旧视频,但仍然震惊于视频内容。

注:图片来自网络
通过清博舆情监测系统(免费、每两周迭代的舆情系统、近20000用户的选择,)监测“婚闹”,数据获取时间段为6月15日14点到17点,从情感属性图可知,网民对“婚闹”的看法多为负面,占比高达79.89%,充分体现出网民对低俗婚闹现象的反感情绪和抵制倡议。

注:来自清博舆情系统
重要舆情图显示,低俗婚闹遭遇舆论强烈抵制和谴责,西安婚闹事件的热度不减,伴娘坠楼身亡事件“添柴加薪”,短时间内已经出现418篇相似文章。

注:来自清博舆情系统
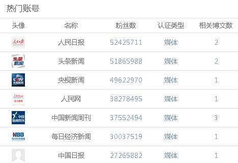
微博热门账号显示,此事影响较大,@人民日报、@央视新闻、@头条新闻 均参与报道,@中国新闻周刊 连发3条微博,党媒央媒的发声奠定了主流舆论基调。

注:来自清博舆情系统
舆情预警趋势图显示,近7日婚闹话题的负面指数均超过800,处于红色预警状态,西安婚闹事件后,12日至14日舆情风险稍有减缓之势,而15日的伴娘坠楼新闻再次提升了舆论对婚闹的负面指责。

注:来自清博舆情系统
媒体评论
风俗不是违法借口,婚闹的陈俗陋习应彻底摒弃。面对低俗婚闹现象,多数媒体立场鲜明,一致表态摒弃婚俗恶习,反对以风俗借口行违法之事。@央视新闻、@头条新闻 先后发声,莫把风俗当违法借口。@人民日报 早在15年、16年就多次发文表示,古代多盲婚哑嫁,婚闹的目的是缓解新婚夫妻尴尬,当前婚闹多低俗,不合时宜且脱离喜庆初衷,理应彻底摒弃。

注:图片来自网络
婚闹涉嫌猥亵女性罪,立案不因受害人不追责而撤销。部分媒体援引律师言论,从法律角度解读低俗婚闹名义下猥亵女性可能面临的罪责。如“西安伴娘被辱事件”,@澎湃新闻 援引律师解读称,视频中男子涉嫌强制猥琐妇女,按照我国刑法规定,依法应判处5年以下有期徒刑或者拘役。@中国新闻周刊 报道称,“西安伴娘被辱事件”属公诉案件,公安机关立案受理后,并不会因受害人不追责而撤销。

注:图片来自网络
旁观者和受害者的“人情纵容”,助长婚闹不断甚至变本加厉。部分媒体认为,婚闹现象不断与被害人的“宽容”态度存在一定关系。@北京时间 表示,“伴娘被辱”系列事件中,围观者、婚礼主办方甚至当事人都不觉得有什么不对,且受害者在事后追责过程中也常顾忌人情,无形中助长了婚闹气焰。法治周末文章《放弃追究“婚闹”无形中助长了恶行》,指出新娘、伴娘的妥协隐忍和职业伴娘的表演,不仅促使婚闹者变本加厉,更会使类似恶俗风气被广泛复制、效仿,造成更恶劣的影响。
网民评论
伴娘的个人选择理应尊重,但公共讨论和法律制裁不容松懈。西安伴娘被辱事件中的伴娘放弃追责,有舆论认为伴娘的纵容将助长歪风邪气,让恶俗变本加厉。
对此,也有网民指出伴娘的个人选择理应得到尊重,不应过分从社会影响层面抨击其行为,将杜绝婚闹恶俗的重任强加在一人之上是不可取的。伴娘或许承受了“来自熟人社会的隐性压力”,或接受了对方真心诚意的道歉。
同时伴娘选择不追究值得理解,但不应鼓励,因为杜绝恶俗婚闹需要通过多个案例形成“猥亵伴娘会遭法律严惩”的示范作用和社会共识。也不能因为当事人放弃追责而停止对低俗婚闹的公共讨论,而应通过舆论推动法制上的进一步完善。
婚闹是文明社会的毒瘤,伴娘这一高危职业何时休?从历史维度来说,婚闹是中国的传统婚姻习俗,始于先秦汉代时期,鉴于驱鬼、营造喜庆气氛、缓和新人初识的尴尬等多种原因。随着各地习俗的流变、恶作剧成分及趁火打劫的心态等不良因素的介入,如今的部分婚闹已然成为伤风败俗甚至是涉嫌违法的活动。
对于近来频繁发生的闹伴娘现象,多数舆论相信这不是普遍现象,毕竟伴随教育和法治的全面普及,社会大众的整体文明程度是在前进的。也正因如此,低俗婚闹与现代文明社会格格不入。部分网民指出闹新娘是人们借传统习俗之名,行猥琐揩油之实,是素质低下、不尊重女性的表现,更是对传统习俗的践踏。
越来越多的伴娘被曝在婚闹中成为受害者,遭遇生理和心理的双重伤害,高危职业成为伴娘群体的新标签。网民不禁质问,这般恶俗婚闹、立于危墙下的伴娘何时才能消失?
清博舆情系统地址:
爱盈利-运营小咖秀 始终坚持研究分享移动互联网App运营推广经验、策略、全案、渠道等纯干货知识内容;是广大App运营从业者的知识启蒙、成长指导、进阶学习的集聚平台; 
                   
                
                   
                   
                
                   
                
         
     
		 
					 
	 
     
     
 
            
 
			



 
                  
                  
                  
                  
                  
                  
                     